側裝式偏心半球閥
側裝式偏心半球閥結構設計類似三偏心硬密封蝶閥,此球閥具有操作輕便、開啟過程無磨擦、零泄漏、壽命長等優點。具有啟閉無磨擦, 密封面可實現自清潔,使用壽命長的特點,此外,調整或更換密封副,閥門可繼續使用,避免了現行眾多閥門密封失效整臺報廢的弊端,節省成本。
側裝式偏心半球閥概述
側裝偏心半球閥結構設計類似三偏心硬密封蝶閥,此球閥具有操作輕便、開啟過程無磨擦、零泄漏、壽命長等優點。具有啟閉無磨擦, 密封面可實現自清潔,使用壽命長的特點,此外,調整或更換密封副,閥門可繼續使用,避免了現行眾多閥門密封失效整臺報廢的弊端,節省成本。
側裝式偏心半球閥結構特點
1:閥座設外臺階與閥體內臺階相配合,防止 了球體與閥座發生卡阻或脫離現象;
2: 利用偏心閥體、偏心球體和閥座、閥桿作放置無運動時,在共同軌跡自動定心,關閉過程中越關越緊,完全達到良好密封的目的,所以偏心半球閥密封性能安全可靠;閥門啟閉時,球體與閥座完全脫開。消除了密封件的磨損,克服了傳統球閥閥座與球體密封面始終磨損的問題
3:非金屬彈性材料被嵌于金屬座中,閥座金屬密封面收到良好的保護;
4:全開時流通能力大、壓力損失小,且介質不會沉積在閥體中內;
5:使用壽命長,密封副耐磨,且有補償量,閥座可調整或更換。
側裝式偏心半球閥工作原理
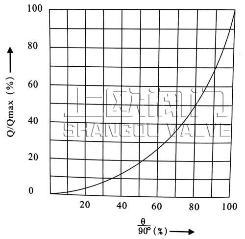
執行器(或扳手)帶動閥桿迫使關閉件球體繞中心A轉動,球體自B點移至C點,此時相對閥門中心點O,從B到C的軌跡為一凸輪狀偏心,右旋進入閥座是閥門關閉保持優良密封,該產品按凸輪原理設計,閥門關閉件從開啟到關閉過程中,作用在閥座上的力逐漸增加,即關閉件表面與閥座由完全脫離至接觸,并逐漸增大密封比壓,直至完全密封,反之為開。見下圖:

工作原理圖 等百分比流量曲線圖
適用范圍
半球閥產品按用途分為:通用閥、管線閥、料漿專用閥、燃氣專用閥、石油化工專用閥、煤粉噴吹專用閥六大系列。在石油、化工、冶金、電力、燃氣、排灰、噴煤粉等行業是閘閥、截止閥、Y型閥、球閥的更新換代產品。
側裝式偏心半球閥主要設計參數
公稱通徑:DN50-1000 公稱壓力:PN1.0-10.0Mpa
材質
閥體:WCB CF8 CF8M ZG1Cr18Ni9Ti
球體:硬密封:ZG1Cr18Ni9Ti 軟密封:CF8/CF8M
閥座:硬密封:2Cr13、1Cr18Ni9Ti 軟密封:PTFE PPL
工作溫度:硬密封:-40~425℃,軟密封:-28~250℃
采用的主要標準
設計制造按 API6D GB/T12237-1989;
試驗和檢驗按 AP1598 JB/T9092-1999;
法蘭尺寸 GB/T9113-2000 JB/T79-1994 HG20592-1997;
結構長度按 KYV-2000
實驗壓力 單位:MPa
| 公稱壓力 | 常溫最大工作壓力 | 殼體實驗壓力 | 氣密封試驗壓力 | 高壓密封實驗壓力 |
| 1.6 | 1.6 | 2.4 | 0.6 | 1.76 |
| 2.5 | 2.5 | 3.8 | 0.6 | 2.75 |
| 4.0 | 4.0 | 6.0 | 0.6 | 4.4 |
| 6.4 | 6.4 | 9.6 | 0.6 | 7.1 |
| Class150 | 2.0 | 3.0 | 0.6 | 2.2 |
| Class300 | 5.0 | 7.5 | 0.6 | 5.5 |
使用范圍
| 殼體材料 | 閥座材料 | 適作溫度 | 適用介質 |
| 型 | 不銹鋼 | ≤150℃ | 水、蒸汽 油品等 |
| 不銹鋼 stainless steel | ≤250℃ | ||
| 型 | 不銹鋼 | ≤150℃ | 硝酸類 |
| 不銹鋼 | ≤200℃ | ||
| 型 | 不銹鋼 | ≤150℃ | 醋酸類 |
| 不銹鋼 stainless steel | ≤200℃ | ||
| 型 | 硬質合金 | ≤550℃ | 蒸汽、冶 煉、能源 |
主要零件材料
| 閥體 閥蓋 | GB | WCB | ZG1Cr18Ni9Ti | ZG0Cr18Ni12MoTi | ZG15Cr1Mo1v | |||
| ASTM | WCB | CF8 | CF8M | WC9 | ||||
| 球體 | GB | ZG2Cr13 | ZG1Cr18Ni9Ti/ 表面特殊處理 | ZG0Cr18Ni12MoTi 表面特殊處理 | ZG15Cr1Mo1v 表面特殊處理 | |||
| ASTM | CA15 | CF8+HF | CF8+HF | WC9+HF | ||||
| 閥桿 | GB | 2Cr13 | 1Cr18Ni9Ti | 0Cr18Ni12MoTi | 25Cr2Mo2v | |||
| ASTM | 420 | 304 | 316 | F22a | ||||
| 閥座 | GB | PTFE | 2Cr13 | PTFE | 1Cr18Ni9Ti | PTFE | 0Cr18Ni12MoTi | D517 |
| ASTM | PTFE | 420 | PTFE | 304 | PTFE | 316 | HF | |
| 填料 | GB | PTFE | 柔性石墨 | PTFE | 柔性石墨 | PTFE | 柔性石墨 | 柔性石墨 |
| ASTM | PTFE | 柔性石墨 | PTFE | 柔性石墨 | PTFE | 柔性石墨 | 柔性石墨 | |
| 螺栓 | GB | 25 | 0Cr18Ni9 | 0Cr18Ni9 | 15Cr1Mo1v | |||
| ASTM | A193 B7 | A320-B8 | A320-B8 | A193 B16 | ||||
| 螺母 | GB | 45 | 0Cr18Ni9 | 0Cr18Ni9 | 20CrMo | |||
| ASTM | A194 2H | A194-8 | A194-8 | A194-4 | ||||
側裝式偏心半球閥主要外形和連接尺寸

| 公稱壓力PN | 公稱通徑DN | 尺寸(mm)Dimensions | ||||||||||
|---|---|---|---|---|---|---|---|---|---|---|---|---|
| L | D | K | d | Y | b | Z-Φdo | Ws | Hs | Hw | Hd | ||
| 1.6MPa | 50 | 124 | 165 | 125 | 100 | - | 16 | 4-Φ18 | 230 | 164 | 260 | 310 |
| 65 | 145 | 185 | 145 | 120 | - | 18 | 4-Φ18 | 250 | 180 | 275 | 330 | |
| 80 | 165 | 200 | 160 | 135 | - | 20 | 8-Φ18 | 300 | 200 | 300 | 360 | |
| 100 | 194 | 220 | 180 | 155 | - | 20 | 8-Φ18 | 320 | 235 | 335 | 390 | |
| 125 | 210 | 250 | 210 | 185 | - | 22 | 8-Φ18 | 400 | 260 | 335 | 405 | |
| 150 | 229 | 285 | 240 | 210 | - | 24 | 8-Φ23 | 500 | 280 | 375 | 440 | |
| 200 | 243 | 340 | 295 | 265 | - | 26 | 12-Φ23 | 800 | 320 | 410 | 470 | |
| 250 | 297 | 405 | 355 | 320 | - | 30 | 12-Φ25 | 100 | 355 | 485 | 550 | |
| 300 | 338 | 460 | 410 | 375 | - | 30 | 12-Φ25 | 1200 | 400 | 530 | 595 | |
| 350 | 400 | 520 | 470 | 435 | - | 34 | 16-Φ25 | - | - | 580 | 650 | |
| 400 | 400 | 580 | 525 | 485 | - | 36 | 16-Φ30 | - | - | 650 | 730 | |
| 450 | 502 | 640 | 585 | 545 | - | 40 | 20-Φ30 | - | - | 710 | 790 | |
| 500 | 533 | 715 | 650 | 608 | - | 44 | 20-Φ34 | - | - | 760 | 840 | |
| 600 | 686 | 840 | 770 | 718 | - | 48 | 20-Φ41 | - | - | 870 | 960 | |
| 700 | 762 | 910 | 840 | 788 | - | 50 | 24-Φ41 | - | - | 910 | 1080 | |
| 800 | 864 | 1025 | 950 | 898 | - | 52 | 24-Φ41 | - | - | 935 | 1125 | |
| 900 | 914 | 1125 | 1050 | 998 | - | 54 | 28-Φ41 | - | - | 995 | 1255 | |
| 1000 | 1255 | 1170 | 1110 | - | 56 | 28-Φ48 | - | - | 1080 | 1385 | ||
| 1200 | 1485 | 1390 | 1325 | - | 58 | 32-Φ54 | - | - | 1175 | 1490 | ||
| 1400 | 1685 | 1590 | 1525 | - | 60 | 36-Φ54 | - | - | 1280 | 1565 | ||
| 2.5MP | 50 | 124 | 165 | 125 | 100 | - | 20 | 4-Φ18 | 230 | 164 | 260 | 310 |
| 65 | 145 | 185 | 145 | 120 | - | 22 | 8-Φ18 | 250 | 180 | 275 | 330 | |
| 80 | 165 | 200 | 160 | 135 | - | 22 | 8-Φ18 | 300 | 200 | 300 | 360 | |
| 100 | 194 | 230 | 190 | 160 | - | 24 | 8-Φ23 | 320 | 235 | 335 | 390 | |
| 125 | 210 | 270 | 220 | 188 | - | 28 | 8-Φ25 | 400 | 260 | 355 | 405 | |
| 150 | 229 | 300 | 250 | 218 | - | 30 | 8-Φ25 | 500 | 280 | 375 | 440 | |
| 200 | 243 | 360 | 310 | 278 | - | 34 | 12-Φ25 | 800 | 320 | 410 | 470 | |
| 250 | 297 | 425 | 370 | 332 | - | 36 | 12-Φ30 | 1000 | 355 | 485 | 550 | |
| 300 | 338 | 485 | 430 | 390 | - | 40 | 16-Φ30 | 1200 | 400 | 530 | 595 | |
| 350 | 400 | 555 | 490 | 448 | - | 44 | 16-Φ34 | - | - | 580 | 650 | |
| 400 | 400 | 620 | 550 | 505 | - | 48 | 16-Φ34 | - | - | 650 | 730 | |
| 450 | 502 | 670 | 600 | 555 | - | 50 | 20-Φ34 | - | - | 710 | 790 | |
| 500 | 533 | 730 | 660 | 610 | - | 52 | 20-Φ41 | - | - | 760 | 840 | |
| 600 | 686 | 845 | 770 | 718 | - | 56 | 20-Φ41 | - | - | 870 | 960 | |
| 700 | 762 | 960 | 875 | 815 | - | 60 | 24-Φ48 | - | - | 990 | 1080 | |
| 800 | 864 | 1085 | 990 | 930 | - | 64 | 24-Φ48 | - | - | 935 | 1125 | |
| 900 | 914 | 1185 | 1090 | 1025 | - | 66 | 28-Φ54 | - | - | 995 | 1255 | |
| 1000 | 1320 | 1210 | 1140 | - | 68 | 28-Φ58 | - | - | 1080 | 1385 | ||
| 1200 | 1520 | 1420 | 1350 | - | 72 | 32-Φ58 | - | - | 1175 | 1490 | ||
| 1400 | 1755 | 1640 | 1560 | - | 78 | 36-Φ65 | - | - | 1280 | 1565 | ||
注:由于網頁文字數量的限制,很多尺寸無法列出,如有需求歡迎您隨時聯系我們
|
||||||||||||||||||||||||
![]() |
||||||||||||||||||||||||
| ||||||||||||||||||||||||










